购物车
购物车
注册
登录
学习中心
我的
我要投稿
下载APP
首页
图书
好课
自由读
工具
作者
会员文章
书币充值
热门:
快消品
零售
营销
老板
图书名称
数量
单价
操作
已选图书
0
本
合计:
书币
结算
结算
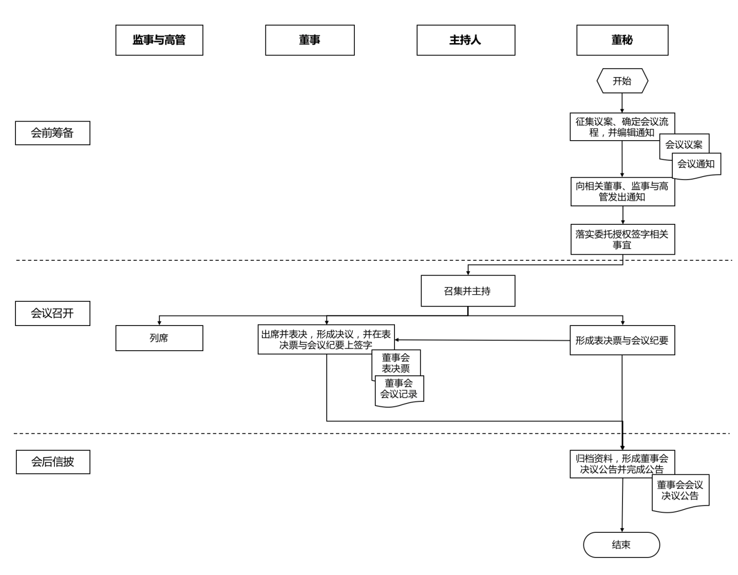
(三)信息披露流程图
匿名
本文出自
《新三板信息披露全流程:操作与工具》
图1-1 董事会流程